世良情感网
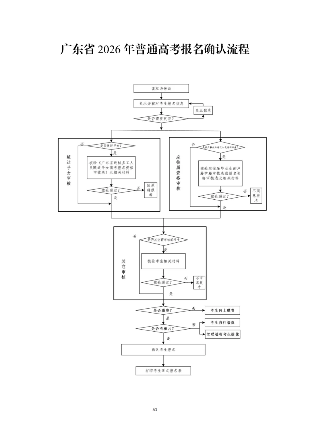
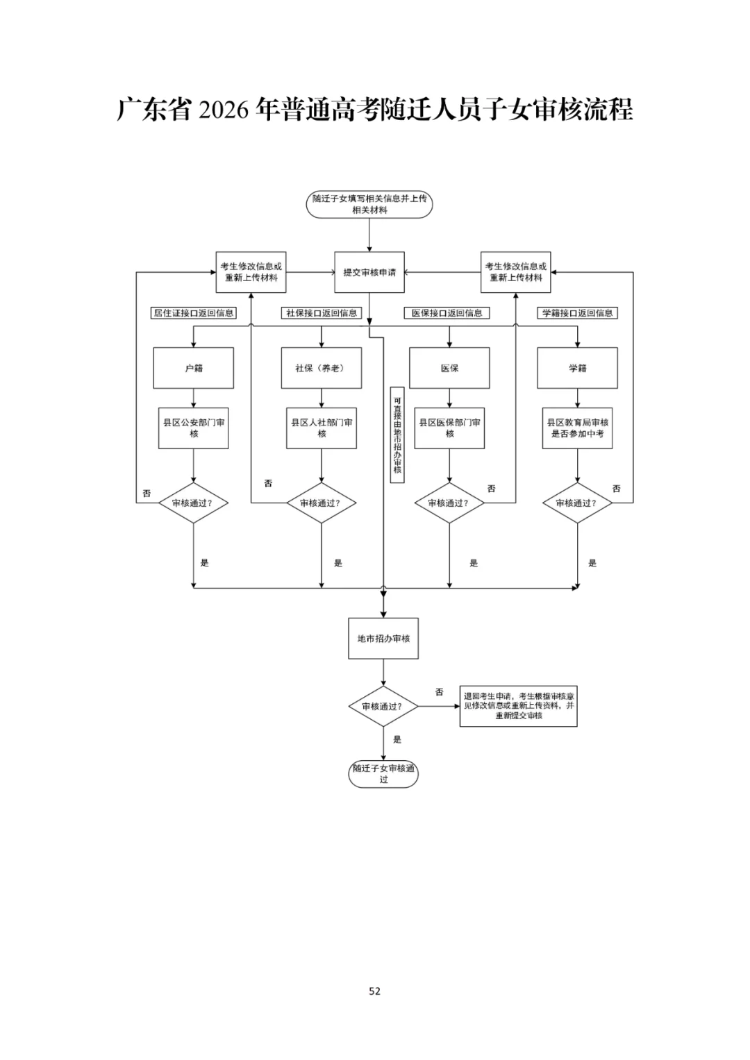
考试院公布!报名时间出了!
平赢在学
2025-10-13 01:16:11
广东春季高考 广东小高考 赢在学考 广东学考 考试时间 打印准考证 报名 广东高考 广东学业水平考试 广东会考
0
阅读:0
平赢在学
感谢大家的关注
作者最新文章
1
学考英语语法填空训练10篇
2
考试院公布!报名时间出了!
3
26春季高考|34个议论文结构框架
4
紧急提醒!这五类考生不能参加春季高考
5
26春季高考|语文必背300个成语
6
26春季高考语数英考试范围🈶变!
7
26春季高考|英语作文模板归纳✓
8
学考数学“不等式”错题训练
9
其实春季高考还没有开始准备也没关系😂
10
26广东春季高考|200分以下直接照抄
热门分类
推荐
热榜
军事
NBA
体育
社会
明星八卦
娱乐
财经
科技
汽车
历史
国际
游戏
动漫
公益
搞笑
商业
互联网
数码
国际足球
房产
家居
时尚
科学探索
职场
育儿
股票
教育
影视
情感
热点
中国军情
武器
中国南海
中国足球
亚洲杯
科比
综合体育
CBA
投资
大咖秀
外汇
创业
风口
SUV
豪车
概念车
优惠
新能源
美国
欧洲
朝日韩
俄罗斯
孕期
街拍
婚姻
正能量
教育
TOP
1
大学时期的刘亦菲也美得让人惊叹[哭哭]
2
这样演高中生是不是有点过分了
3
原来老师也怕老师😂
4
现在的大学生都喜欢这样穿的吗?冬天真的不怕冷
5
现在的女大学生还是太权威了[点赞]
6
越南表妹阿香一天比一天漂亮05年在校大学生河内国际学院2026年6
7
在读硕士的杨春燕,在教室上课时被警方带走。老师一脸惊讶地说:“是不是抓错人了?”
8
这么一类比就明白了,牛马太难了
9
学妹都是那么可爱😍女大学生少女清纯风青春校园美女校园少女
10
这么一穿,看起来都像公务员呢。
教育
最新文章
1
恭喜明年六月份中考的孩子,简直是天上掉馅饼了!因为你们这一届初三生真的太有福气了
2
广东省教育厅今天刚刚发布:广东科技学院,广东邮电职业技术学院,广东第二师范学院,
3
31岁留学女博士王哲,与26岁美国男伴发生关系后,发现男伴皮肤有严重问题。让男伴
4
中小学教师,从中级升到副高每月能涨多少钱?中小学教师从中级(专技八级)晋升到副
5
厦大“精日女”田佳良的堕落之路:从学霸到全民唾弃真没想到啊,表面看着那么
6
高考,被无数寒门学子视为“逆天改命”的独木桥。当湖南省某中学的“天才学霸”李
7
学妹都是那么可爱😍女大学生少女清纯风青春校园美女校园少女
8
到了高中,你会发现:高一难,是相对的难,高二难,是绝对的难。高一、高二能
9
我靠,89次。一个人,替考公务员89次,赚得盆满钵满。看到这数字,我简直惊呆了
10
等待面试的模特