#Uzi起诉RNG#
据报道,近日,Uzi在直播中公开控诉RNG俱乐部拖欠款项,并表示已采取法律手段维权。
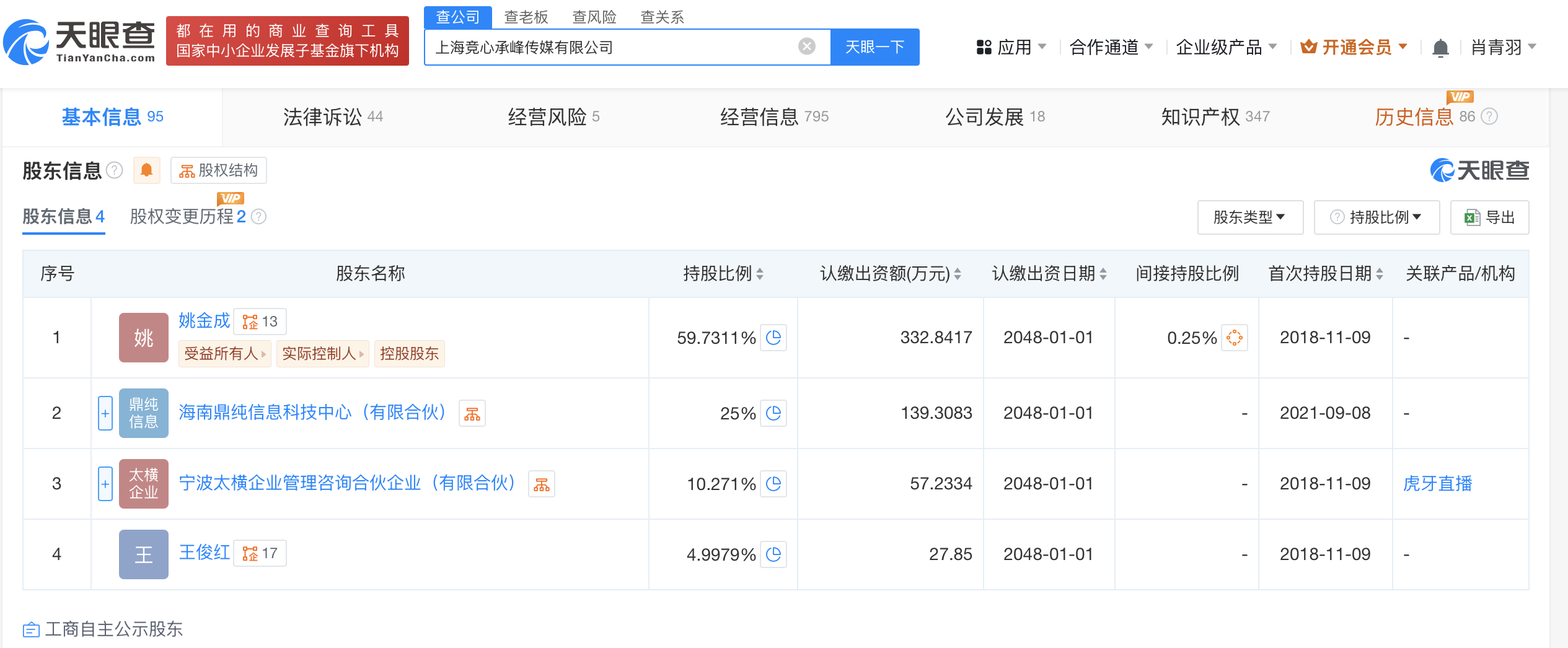
天眼查App显示,RNG关联公司上海竞心承峰传媒有限公司成立于2018年11月,法定代表人为王俊红,注册资本约557万人民币,由姚金成、海南鼎纯信息科技中心(有限合伙)、宁波太横企业管理咨询合伙企业(有限合伙)、王俊红共同持股。风险信息显示,该公司所持多家公司股权已被冻结。



#Uzi起诉RNG#
据报道,近日,Uzi在直播中公开控诉RNG俱乐部拖欠款项,并表示已采取法律手段维权。
天眼查App显示,RNG关联公司上海竞心承峰传媒有限公司成立于2018年11月,法定代表人为王俊红,注册资本约557万人民币,由姚金成、海南鼎纯信息科技中心(有限合伙)、宁波太横企业管理咨询合伙企业(有限合伙)、王俊红共同持股。风险信息显示,该公司所持多家公司股权已被冻结。



热门分类
科技TOP
科技最新文章