
众所周知BMW旗下S 1000 RR一直都是性能的代表,在外观设计上新一代的S 1000 RR也尤为夸张。特别是新款在车头的设计上简直达到了“丧心病狂”的地步,这定风翼不管是尺寸还是造型在同级竞品中也是最夸张的存在。
然而从最新曝光的一份设计专利中,宝马似乎对空气动力学的执念还未停止,似乎设计师也仍不满足。


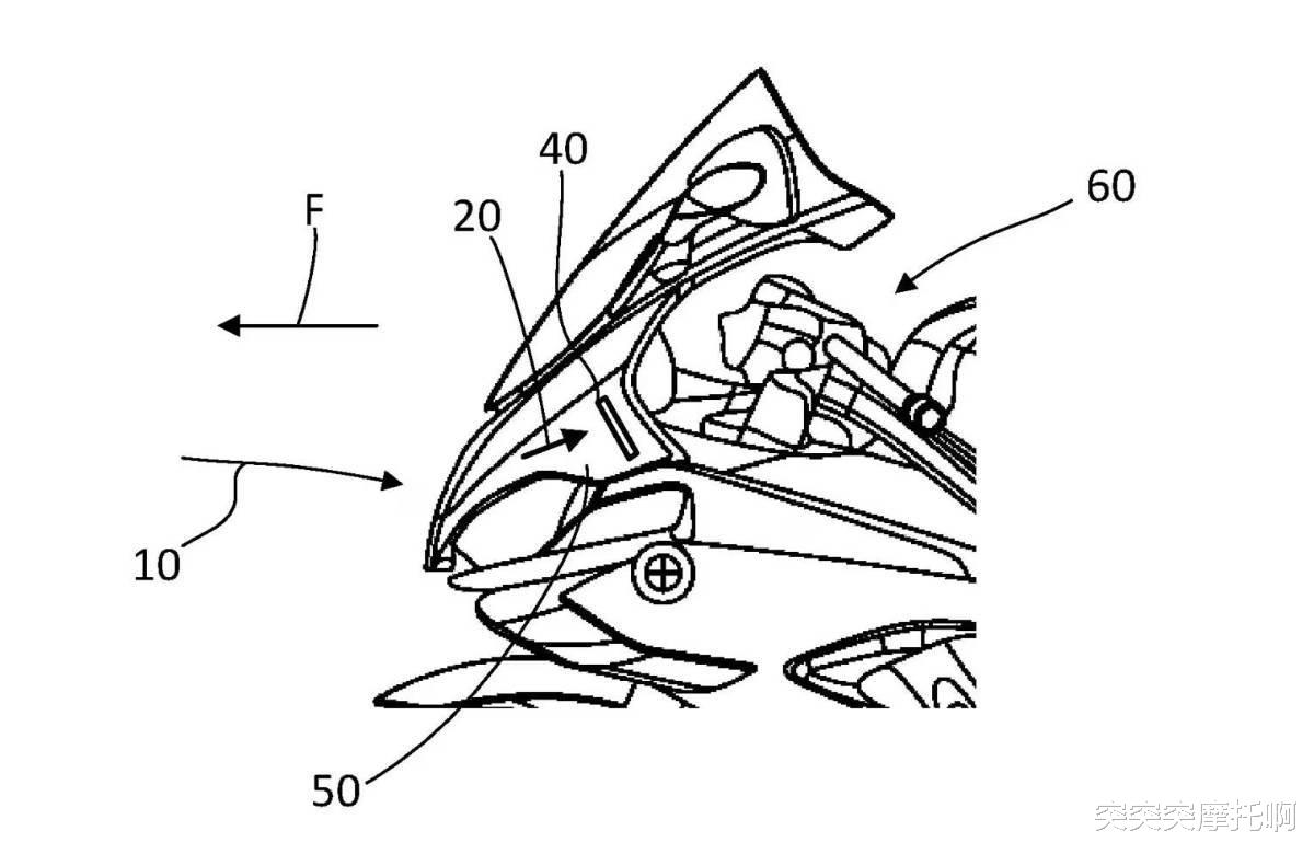
在这一次递交的专利中,宝马设计师将S 1000 RR上的定风翼再度升级。从专利中我们可以看到,新款定风翼并没有改变现有的造型,而是在灯眉后侧加入了一块可以翻折的定风翼。根据小定风翼的位置小编判断似乎是给手把处来导流的,从而减小高速骑行时手把部位的撞风,也可以想象宝马对降低风阻系数的执念。


其实2025款S 1000 RR在定风翼上的设计已经到了非常夸张的地步,并且也下放了WSBK的赛车导流技术,这一点在M 1000 RR上更是夸张。当然宝马这组定风翼也是现售所有同级共升级赛车中最为夸张的存在,相比杜卡迪、雅马哈、本田等在气势上也都要来得更加强悍。


尽管定风翼在高速驾驶的情况下能够带来一定的下压力,但更多时候定风翼呈现效果往往是视觉观感胜于实际作用的。如今国产仿赛的设计师,不管排量大大小小都会设计上一个定风翼,下到250cc单缸上至800cc四缸都是如此。或许很多车友骑到卖掉车都不会有机会在日常道路上发挥它们的作用,但是的确在视觉观感或内心满足上会让人觉得很爽。
