最近,赶碳号一直关注光伏领域的一系列知识产权问题。
6月21日,安徽合肥的光伏小企业大恒能源,在其官方微信平台发布一则公告:”在近期举办的SNEC上海国际光伏展会上,我们遗憾地发现展会上出现了若干模仿大恒能源全面屏组件技术的产品。这些行为不仅严重侵犯了我司知识产权,扰乱了市场秩序,也损害了行业整体利益。“
在看到这则声明之初,赶碳号不由得为大恒点赞——一家名不见经传的跨界企业,敢于公开发声维权,这还是需要相当的勇气的。
客观说,防积灰组件在2023年SNEC时还不太多见,到了今年初济南光伏展时,其实已经遍地开花,在不久前的2024SNEC上,就更是铺天盖地了。
光伏产品的同质化问题,在防积灰这个功能上体现得淋漓尽致。赶碳号判断,未来“防积灰”甚至都有可能成为光伏组件的一项基础功能。
知识产权保护,是一门学问,专业性极强。主张知识产权的意愿是一回事,而企业的能力与结果又是另外一回事。头部企业知识产权的系统化能力,都远在中小企业之上。大恒能源的全面屏,能否在防积灰这项功能上建立起足够高的专利壁垒呢?

2024年3月,赶碳号摄于大恒能源总部
首先要对大恒能源的创新充分肯定。光伏的创新其实很难,特别是在千板一面、传统到不能再传统的组件上。一家中小企业,能够勇于创新,并将成果转化为差异化竞争力,为行业作出贡献,这相当不简单。
据了解,大恒能源的创始人谢申衡在跨界光伏之前,是开广告公司的。大恒能源工作人员曾向赶碳号介绍,创始人当时受到户外灯箱广告边框的启发,历时多年,终于研发出了这款”全面屏“组件。

虽然现在,市场中叫”全面屏“的组件,貌似仍然只有大恒能源一家,但具有“防积灰”功能的组件,主打防积灰卖点的,则数不胜数。所以,光伏圈很多人将大恒能源此举,视为在挑战所有防积灰组件。
不过,赶碳号经过查询和研究却发现,头部企业在防积灰组件领域,均有深入的专利布局。今天,我们就重点分析、对比三款具备防积灰功能组件的专利布局:大恒的“全面屏”、隆基绿能的“Hi-MO X6Max”和协鑫集成的”莲花“。
01 大恒能源——全面屏组件
来源:大恒能源官网
根据大恒能源官方介绍,其开发的全面屏组件具有排污无残留,发电量显著提升的优点,且该技术具备“全球专利”技术。
首先,赶碳号站在专业角度,要给大恒能源科普一下外宣传用语,并不存在所谓“全球专利”这样的单一专利。中国公司向外国申请专利,主要通过“PCT”和 “巴黎公约”进入对应的一个或多个国家,在目标国家经过审查后,方可获得对应的专利。
那么,大恒声称的“全球专利”技术具体是指什么呢?
赶碳号在专利检索数据库检索获知,大恒确实有通过PCT的方式申请过两件与“全面屏组件”相关的专利:WO2022116518A1和WO2022052572A1。这两件专利均申请于2021年6月25日。
专利1——WO2022116518A1

指定期满-进入具体国家-一种全屏光伏组件边框及其装配工艺,该专利是基于其国内在先申请的专利CN112422065A为基础提交的,目前以该专利为基础,已经在匈牙利、西班牙、日本、欧洲地区、德国、巴西和保加利亚分别开展专利审查工作。

具体看一下这件专利对应的技术信息:

一种全屏光伏组件边框,包括环光伏组件布置的主框件10,主框件10自内向外包括依次布置的底部平面架11、中部连接框架12、顶部支撑框架13,顶部支撑框架13包括底面支撑部132和侧面围接部131,侧面围接部131的上端与光伏组件的外表面平齐,底面支撑部132包括靠近中部连接框架12内侧支撑框边设置的打胶部132a,打胶部132a为凸出于两侧的平面,打胶部132a与侧面围接部131的下部内侧之间构成存胶腔132b,存胶腔132b上方设置溢胶腔131b,全屏光伏组件边框有且仅有一处该溢胶腔。


解决的问题
现有的边框在装配时,需要边框的底面溢胶槽以及侧面溢胶槽中均施胶,由于多处施胶,直接的装配工艺工序多、效率较低,加工成本也高。此外,由于多处施胶,施胶控制量变得不好控制且不论,对应的设置多处溢胶槽腔,故溢胶量大,溢胶量控制效果仍有待提高。
技术效果
该专利在中部连接框架上设置与光伏组件平行的打胶部,打胶部为一长条平面,打胶胶头直接对准打胶部一步打胶,工序相对现有技术变得简便,且直接摒弃了现有的将硅胶打至槽溢胶槽内的构造,工艺难度直接降低,且打胶量变小,溢胶量少,溢胶量得到很好控制,加工光伏组件的成本也大大降低。
专利2-WO2022052572A1

指定期满-进入具体国家-一种新型光伏组件边框。该专利是基于其国内在先申请的专利CN212969542U为基础提交的,目前以该专利为基础,已经进入西班牙、日本、匈牙利、巴西进行审查。

WO2022052572A1具体进入的国家统计
具体看一下这件专利对应的技术信息:

一种新型光伏组件边框,包括环光伏组件a布置的主框件10,主框件10自内向外包括依次布置的底部平面架11、中部连接框架12、顶部支撑框架13,顶部支撑框架13包括底面支撑部132和侧面连接部131,侧面连接部131为设置于底面支撑部132外侧倒置的竖钩件,竖钩件的上端向光伏组件a倾斜并贴于光伏组件a上,且竖钩件的上端与光伏组件a的外表面平齐,竖钩件的内侧设置侧面溢胶槽131a,底面支撑部132上位于光伏组件a下表面设置底面溢胶槽132a,竖钩件的下端与中部连接框架12的外侧为一体式结构。

解决的问题
现有的保留A面的光伏组件边框的缺点:即A面在安装后,光伏组件A表面上受雨水冲刷的脏污无法流走,而积留在A面围成的方槽内,长期以此会在光伏组件A底边形成脏污带,遮挡电池片影响发电甚至引发热斑。
技术效果
1.形成的光伏组件结构类似全屏手机结构,边框使用硅胶粘接光伏组件的内表面以及玻璃侧面,达到固定光伏组件以及控制溢胶的效果,且该结构在不影响光伏组件载荷性能前提下具有很高的美观度;
2.由于光伏组件边框的特殊结构,这样光伏组件表面无A面,光伏组件表面无遮挡玻璃的部分,这样光伏组件表面的脏污在雨水冲刷下能顺利脱离光伏组件排出;
3.本实用新型光伏组件边框设置侧面溢胶槽和底面溢胶槽,供打胶及控制溢胶,能减少生产中的溢胶情况。
总结
大恒提出一种全面光伏组件方案,主要通过改进边框,将边框的侧面在支撑光伏板的同时,不对光伏板表面遮挡。
02隆基绿能——Hi-MO X6 极智家
Hi-MO X6 极智家(防积灰设计),是基于HPBC电池技术自主研发的功能性组件。通过创新的短边无A面设计,能够让组件上的积灰在重力及降雨的影响下,自然滑落,避免在组件底部形成泥带,遮挡入射光线,影响组件发电性能。


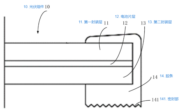
一种光伏组件 ,包括依次层叠设置的第一封装层、电池片层和第二封装层;光伏组件还包括位于光伏组件边缘的胶条,用于使相互搭接的两个光伏组件密封贴合;胶条的可压缩量大于或等于胶条在压缩方向上的尺寸的5%,且小于或等于胶条在压缩方向上的尺寸的25%。

矩形胶条方案

L型胶条方案

C型胶条方案
解决的问题
现有技术中,相搭接的光伏组件之间密封不严,使得光伏组件的搭接位置处出现渗水现象,影响屋面的防水性能。
技术效果
本专利中的胶条能够被压缩,保证密封时不会出现光伏组件之间线接触的情况,避免造成密封不严的问题。本发明的光伏组件可以为无边框光伏组件或防积灰边框的光伏组件,在光伏组件的底部区域不易出现积灰现象,能够提升光伏组件的发电效益。
总结
胶条的边缘低于光伏组件的边缘,该胶条可以设置在短边或所有的边,从而避免组件下部边缘积水、积灰。

一种光伏组件,包括光伏面板、组件纵向边框和组件横向边框,组件纵向边框为如权利要求1或2组件边框,组件横向边框包括组件横向上边框和组件横向下边框,组件横向下边框为防积灰组件边框。
防积灰组件边框包括主体,主体位于光伏面板下方,主体包括依次相连围成矩形框体的第二顶板、第二内侧板、第二底板和第二外侧板。
防积灰组件边框由主体组成;
或者,防积灰组件边框还包括侧板,侧板与第二顶板相连且位于光伏面板的侧面,侧板的顶端面低于光伏面板的上表面或与光伏面板的上表面共面。

边框的侧边与光伏板基本共面

边框位于光伏板下面
解决的问题
现有光伏组件在边框之间的积灰量过大,遮盖光伏面板上的电池片而影响电池片的性能。
技术效果
框体整体低于光伏面板,框体与光伏面板之间未形成有储存槽,光伏面板上的水流和灰尘等物体会顺着光伏面板的倾斜度从光伏面板的表面滑落,不会积存在框体与光伏面板之间,从而减少光伏组件和边框之间的积灰量。
总结
隆基设计一种防积灰边框,边框的侧边(短侧边)的顶部低于光伏面板、或与光伏面板同等高度,光伏面板上的水流和灰尘等物体会顺着光伏面板的倾斜度从光伏面板的表面滑落,但隆基的防积灰边框仅用于光伏组件的底边。

一种光伏组件,包括光伏层压件11、密封件以及围设于光伏层压件11周向边缘的边框结构;边框结构包括:具有型腔的边框主体130,边框主体130的一侧设有容纳槽,容纳槽具有槽底板131以及设置于槽底板131一端的槽侧板132,光伏层压件11部分设置于容纳槽内,且分别与槽底板131、槽侧板132之间粘接连接;密封件分别设置于光伏层压件11与槽底板131、槽侧板132之间,以密封光伏层压件11与槽底板131、槽侧板132之间的缝隙。

解决的问题
现有的无A面边框在光伏组件封装时,由于没有容纳槽侧壁的遮挡,一方面很容易产生溢胶现象,导致封装过程中还需要增加人工清胶工序,影响产品的生产效率;另一方面,光伏层压件与边框之间还很容易产生缝隙,导致积灰,进而影响产品寿命以及外观。
技术效果
密封件一方面可以起到防止光伏层压件与槽底板、槽侧板之间胶水外溢,另一方面还可以起到缓冲以及防尘密封的作用,避免光伏层压件与槽底板、槽侧板之间硬接触,以及密封光伏层压件与槽底板、槽侧板之间的缝隙,避免雨水灰尘等在缝隙处积存。
总结
该专利的边框具有短侧边,通过增加一个密封件,确保填充的密封胶不会溢出,同时确保光伏板不会与边框直接碰撞。
03 协鑫集成——莲花
来源:协鑫集成官网
相较于传统的组件,协鑫集成的莲花组件无边框、防积灰、无压块、无遮挡,实现了无缝安装,采用特殊的快装紧固件,安装效率提升30%,发电增益高达12%。


光伏组件,包括矩形框以及设置在矩形框内的层压件,矩形框由一组相对的第一边框和一组相对的第二边框通过角码连接而成;第一边框包括连接为一体的第一边框主体10和第一延展部11,第一延展部11沿第一边框主体10长度方向延伸且自第一边框主体10外侧面上沿向上延展,第一延展部11与第一边框主体10构造了一个支撑和限位层压件边缘的第一支撑台;第二边框包括第二边框主体和第二延展部21,第二延展部21沿着第二边框主体20的长度方向延伸且自第二边框主体的外侧面上沿向上延展,第二边框主体和第二延展部构造了一个支撑和限位层压件边缘的第二支撑台;第一延展部11和第二延展部的高度不大于层压件的厚度,层压件的边缘粘接在第一支撑台和第二支撑平台上。

第一边框结构

第二边框结构
解决的问题
现有光伏组件的边框的顶部的压板比层压件正面会高出2-3毫米,当下雨或是对组件表面进行清洗维护,污水会流向组件向下端,总有部分积水无法越过边框,积水晒干或风干后灰尘就会结在玻璃表面,日积月累形成泥带。
技术效果
由于第一边框和第二边框顶部没有压板,且第一边框和第二边框用于限位层压件的延展部的高度不大于层压件的厚度,因此边框不会遮挡层压件,增加了层压件的受光面积,提升了光伏组件功率;并且杜绝了光伏组件在户外使用时产生泥带。
总结
通过在边框上设置两个突出的“延伸部”,且“延伸部”的高度低于光伏组件的表面,实现全面屏效果。

一种防尘的光伏组件,包括:层压件3,包括主体部分和延伸部32,主体部分包括上板、下板和封装在上板和下板之间的电池片,下板的两端向外延伸分别形成延伸部32;矩形框,包括一对相对的第一边框和一对相对的第二边框2,第一边框的内侧具有第一安装槽,第二边框2的内侧具有第二安装槽;其中,主体部分的两个自由边被封装在第二安装槽中,延伸部32被封装在第一安装槽中,且上板的上表面高出第一边框的上表面。

第一边框(短边)安装结构

第二边框(长边)安装结构
解决的问题
无框的光伏组件和边框无A面的光伏组件都不易在层压件表面堆积灰尘,但是无框的光伏组件在安装时使用压块的成本较高,且无框双玻璃光伏组件运输成本高。
技术效果
光伏组件的边框具有A面,且其中一对边框的上表面低于层压件的上表面,因此上表面低于层压件上表面的一对边框不能对灰尘等杂物形成阻挡作用,灰尘等杂物不容易堆积在层压件上,光伏组件在使用时不会因为灰尘等而降低发电量。
总结
该专利采取的全面屏方案与“改进边框”的技术路线不同,本专利采取的是对光伏板的结构进行改进,确保安装后的光伏表面与A面平齐,同样达到排水、排泥的效果。

一种光伏组件,包括有一对短边框1和一对长边框2连接而成的矩形框及固定在矩形框上的层压件3;短边框1包括:一中空的短边框主体10,在短边框主体10的上表面靠近外缘设有一凹陷的第一储胶部100及一第一延伸部11,沿短边框主体10的长度方向延伸且自短边框主体10的上表面外缘向上延展;层压件3一对短边缘的下表面分别粘接在两个短边框主体10的上表面,层压件3一对短边缘的侧面分别粘接在两第一延伸部11的内侧,层压件3的上表面不低于第一延伸部11的高度。

短边框结构

长边框结构
解决的问题
现有的光伏组件具有A面,即边框顶面,光伏组件装配后,边框的A面会高出层压件正面2-3毫米,组件在户外使用时,雨水、灰尘、枯叶等杂质会堆积在边框A面内侧,遮挡在层压件的表面,进而影响组件发电。
技术效果
由于边框无A面,因此只需在边框的边框主体上表面和延伸部的内侧面涂覆硅胶,节约了胶量;边框具有一个储胶部,在光伏组件装配时,粘接胶可从打胶面向储胶部内流动,并存储在储胶部内,降低玻璃正面溢胶的可能,满足了光伏组件C面可视溢胶和光伏组件玻璃表无溢胶的标准,溢胶效果易控制,装配难度降低。
总结
这件专利是在第一件专利CN218449996U的基础上做的进一步改进,增加了储胶部,进一步改善了光伏板的安装效果。
04 三家企业专利比对通过对三家企业涉及“全面屏”或“防积灰”的专利进行统计和梳理,并对专利具体涉及的技术分支进行划分,获得如下的图表:

三家企业申请趋势统计
从三家企业的申请趋势(即申请专利的时间先后)可以看出,大恒最早在2015年就提出过防积灰光伏组件的专利,隆基在2017年首次关注防积灰问题,协鑫则是在2022年对防积灰光伏组件进行研发。
大恒是在2022年申请了11件的涉及防积灰的专利,隆基在2022年申请6件相关专利,协鑫则是在2023年申请6件专利。

三家企业专利技术信息统计

统计了三家专利涉及的具体技术分支后,可以看出,大恒在无A面边框方面布局7件专利,而这也是“全面屏”或“防积灰”组件的核心技术,隆基布局5件专利,协鑫布局4件专利;
在其他技术分支方面,大恒的专利技术涉及面广,包括全面屏组件、组件连接件、工装夹具、测试工艺、打胶装置和方法等,实现的技术的全方位保护;
隆基的技术重点在组件连接件,布局了6件专利,另外还采用带有A面的导流结构,实现防积灰,而在其他方面布局的专利则很少;
协鑫的专利数量虽然不多,但涉及的技术面也较广,包括连接件、密封测试、工装夹具和包装装置等,较为全面的保护了自己的技术。
专利比对结论综合对比可以看出,大恒在全面屏技术领域发力较早,研发投入较多,获得的专利成果丰富,有效保护了自身的创新成果,且其全面屏技术是光伏组件的4个边框均为无A面设计,全方位避免尘土、雨水的堆积,整体效果较优。
隆基虽是在后研发,为了规避大恒4个边框均为无A面设计,采用了在上下两个边框采用无A面设计,而在左右两个边继续使用有A面的边框,对于一般无侧风的场景效果没有太大区别,但如果是有侧风的情况,两边的边框仍然可能会有积灰的现象。
协鑫集成,同样是布局了4个边框均为无A面设计的专利技术,但其技术与大恒存在一定交叉。协鑫集成的另外发力点,则在于其使用了“快装紧固件”,其能在连接两块光伏板的时候,连接件位于光伏板下方,从而不会在光伏板上方出现连接卡块,也就避免了在卡块附近的积灰,这是在大恒和隆基的技术基础上进行了进一步优化。
当然,三家企业的“全面屏”或“防积灰”各有优缺点。任何一款产品,在商业上的成功肯定不会只体现在技术上,更重要的还是对于客户的性价比和适配性。
总之,大恒虽然拥有一定先发优势,但是若想通过专利布局构建起绝对的壁垒,完全阻止其他光伏企业进入防积灰产品领域,似乎已不可能。至少,现在就已经被隆基绿能、协鑫集成这两家头部企业”破防”了。隆基和协鑫,也可以对其他企业转授权。不过,大恒能源倒是可以此为筹码,和拥有其它光伏专利的企业,比如TOPCon,做一些专利上的交换授权。
END