目前汽车电气化的水平越来越高,其中比较显著的一个发展方向就是将发动机管理系统和自动变速器控制系统,集成为动力传动系统的综合控制(PCM)。作为汽车动力的核心部件,通过电子系统的运用,将外部多个传感器和执行环节的数据进行统一协调,这就要求电子系统具有高度的实时性和可靠性,从而促进了实时时钟模块的进一步发展应用。EPSON作为一家密切关注汽车行业的实时时钟模块厂家,长期跟踪汽车产业的发展动态,近期推出了一款采用SPI总线接口的实时时钟模块RA4000CE。这款产品满足AEC-Q100车规认证标准,为汽车电子厂家提供实时性更高的时钟信号,可为汽车动力传动系统综合控制部件提供精准可靠的时钟解决方案,帮助厂家设计出性能更加卓越的产品。

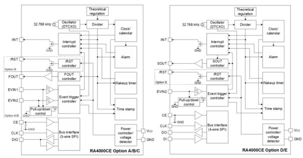
图1 RA4000CE产品结构框图
带SPI接口、集成数字温度补偿的实时时钟模块,具备高实时特性相较于传统的模拟数字补偿时钟模块,实时时钟模块RA4000CE采用数字补偿技术,通过在模块内部检测温度和电压变化,将模拟量转换为数字量,再通过SPI接口与计算芯片完成通信。由于SPI接口传输速率受传输双方设备性能影响,传输速率可以达到几十MBps更加适用于点对点的传输方式,对于汽车电子中的PCM可以提供更高密度的数据传输速率,提高时钟信号配置和中断检测的实时特性。

图2 RA4000CE随温度变化的频率稳定特性
助力厂商通过车规认证,高可靠性保障稳定运行于汽车严苛环境
安全是汽车最重要的属性,直接关系到人们的生命财产安全。为此汽车行业严格推行AEC-Q100车规认证,相较于普通工业产品的标准更加严格,目的是保障汽车不管在严寒还是酷暑托各种恶劣环境中都能稳定可靠运行。RA4000CE严格按照车规要求进行设计生产,通过认证,汽车电子设计师们可以放心将该时钟模块加入BOM清单。从图2可以看出,RA4000CE经过严格的温度变化测试,常温情况下频率稳定,在高温和低温情况下频率容差最大不超过+50.0x10-6,汽车电子设计师们可据此图形参数设计产品的时钟系统。
内置丰富功能,具备时间戳和唤醒定时器功能
RA4000CE内设功能丰富,其具备时间戳功能,可记录1/1024秒到1秒,分钟,小时,月和年的信息,可以通过外部事件中断,电压跌落,晶振停振以及主级指令等来触发。同时RA4000CE还具备唤醒定时器功能,其周期选择从976.56uS到32年可选,即可用来当作看门狗,也可以用作时间积分计来测量时间。因此RA4000CE不单单作为一个实时时钟晶振使用,也为用户在系统功能上做了配套设计,从而提升汽车电子产品的整体性能。