华为MateX6折叠屏新专利曝光,玄武架构让手机更耐用?
智能手机每一次技术的革新都是一次全新的挑战与突破。 最近,华为MateX6的最新折叠屏技术专利曝光, 这款手机采用了全新的分布式玄武架构,能有效提升折叠屏的性能和可靠性。

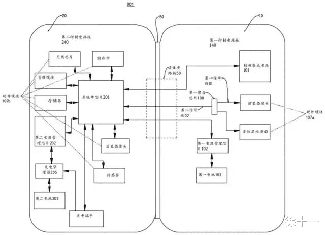
分布式玄武架构, 简单来说这种架构通过将系统单芯片和射频集成电路分散布局于折叠屏的主副框上,从而为电路元器件设计释放出更多空间。
华为Mate X6采用了分布式玄武架构,该结构融合了坚固的玄武机身、耐用的锦纤材料以及昆仑玻璃,这三者的结合显著增强了手机的抗冲击能力。

这样做的好处显而易见:不仅优化了内部空间的使用效率,还提升了整体的性能表现。在视频展示中,华为Mate X6采用了分布式玄武架构设计,其机身不仅经受了高温与严寒等极端环境的考验,还巧妙结合了大面积VC均热板材料,散热效率也可以期待一手。

除了性能提升外,可靠性也是这次升级的重点。我们知道,折叠屏手机最大的挑战之一就是屏幕的耐用性。
宣传视频展示了电锯与手机的碰撞,似乎在暗示华为Mate X6系列手机屏幕的坚固性。昆仑玻璃以其强度著称,华为上一代折叠屏手机Mate X5就采用了这种材料,而Mate X5典藏版更是升级到了玄武钢化昆仑玻璃。这就好比给你的手机穿上了一层坚固的盔甲,无论是日常使用还是意外跌落,都能更好地保护内部元件不受损害。

这次的Mate x6的屏幕或许比上一代更强悍,更加抗摔和耐用。当然,所有这些技术的进步最终都是为了让用户体验更上一层楼。对于普通用户来说,能带来更长的使用寿命、更快的速度以及更稳定的操作感受。