韩国那边,媒体都在热炒李在明可能会当上下一届总统。满大街都在说,宪法法院那边加强了安保,生怕出啥大乱子。还有一堆民调结果满天飞,都说“在野党的支持率高”。这背后给人的感觉就是,尹锡悦被罢免的可能性比不被罢免还大。但这凭啥呢?宪法法院那边一点风声都没漏,我琢磨着,只有一种可能,那就是在野党想通过韩国媒体,把他们想要的结果给宣扬出去,好影响局势发展。他们想给那8名法官的宪法法院体制施加压力,毕竟按规定,只要有3名法官反对罢免,尹锡悦就能立马官复原职。

【导言】
尹锡悦的支持者和反对者们,都别急,韩国的政治较量嘛,总得有个赢家,有个输家。这最后的判决眼看就要到了,在野党心里那股子必胜的劲儿,咱们也能懂,他们不就是想在国会里占上风,然后再把执政的大旗给扛起来嘛。这样一来,在野党就在韩国政治的大舞台上唱独角戏了。唱独角戏的后果是啥呢?那是不是就我说了算,想干啥就干啥了?那以后韩国还有谁能反对呢?这不就等于韩国政治又回到了“一言九鼎”的老时代嘛。这对韩国老百姓来说,那绝对是场大灾难。唱独角戏,说白了,不就是“一个人说了算”嘛。
咱们现在聊聊尹锡悦“获释”之后,“罢免”的风向突然大变,明显倒向了尹欣悦那边。
【一、韩国首尔中央地方法院3月7日宣布宣判“尹锡悦提出的拘留取消申请”获得通过】
韩国首尔中央地方法院通过了尹锡悦取消拘留的申请,这对尹锡悦来说,算是松了口气。但这可不代表宪法法院就会判他不会被踢下台,具体咋回事儿,咱来分析分析:
从司法流程来说:首尔中央地方法院依据韩国“刑事诉讼法”的有关规定,同意了撤销拘留的请求,理由是检方提出拘留指控时存在不当之处。

【二、韩国的政治表象对李在明的“两年监禁”少提及和少报道】
李在明涉及的刑事案件和尹锡悦的刑事审判,都在韩国的首尔中央地方法院审理,那这个法院算是韩国政治法律上的“终极把关者”吗?到了2024年11月15日,李在明因为“触犯了公职选举法”被判了一年有期徒刑,但不用马上坐牢,缓刑两年。他不甘心,打算继续上诉,二审、三审分别安排在3月底和5月份。之前,2月26日那天,李在明还现身了他那违反《公职选举法》案子的二审最后一次开庭,检察官当庭就建议法官判他两年牢,而法院打算在3月26日给出二审的结果。

【三、释放的时间点对尹锡悦相当重要,可以说是在宪法法院“生杀勿论”之际】
尹锡悦获释这一举动,从政治大环境来看,确实给他的支持者们打了气。同时,这也让尹锡悦在行动上自由多了,他能更轻松地为自己辩解或者参与各种活动。摆脱了束缚,他就像“松了绑”一样,能更顺畅地推进那些“战斗到胜利”的计划。

【四、韩国民调机构韩国盖洛普2月28日、3月4日,发布的民调结果显示,近60%的民众支持罢免尹锡悦。这对被弹劾裁决产生一定影响。】
从卢武铉到朴槿惠这些总统的弹劾案子,都是照着事实、证据和法律来判的。就拿朴槿惠的弹劾案来说,才11天就出了结果。到了2月25日,宪法法院在最后那场审判里说了,判决会在3月中旬下来,也就是说,最晚3月20号前得给个说法。

【五、支持罢免的读者,不用着急——相信会有意想不到的结果出来】
宪法法院对尹锡悦弹劾案的裁决,关键得看案子本身的情况、有啥证据,还有法律是怎么规定的。尹锡悦就算被放出来了,法院也不会因为这个就直接决定不罢免他。裁决还得看具体情况。

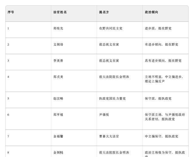
【六、宪法法院,8名法官客观存在的事实,8名法官有半数以上的法官偏保守(执政党),这对宣判有微妙的影响力】

谁要是对这个说法说不,那他就被称为“明镜菩提”,说白了,就是神仙般的裁判。

【七、尹锡悦与律师团队感谢韩国首尔中央地方法院,说后面的进展将“事必归正”】
这句话就是说,他们特别信赖宪法法院的判决,觉得那判决结果很靠谱。
2、为了安抚并激励我们的支持者。
3、这同样被视为对宪法法院发起“弹劾”行动以及首尔中央地方法院判定“内乱罪”的一种“支持”。
4、给出信号表明“弹劾提议难以过关”。
【一句话总结】
要是尹锡悦不跟我关系变差,他弹不弹劾我都无所谓。

文风
你还生活在18世纪吗?拿旧的破烂货炒新闻?
用户17xxx91
过时的还在报到,有意思吗
仝一
小编要不写拜登复归总统宝座
日出东方
高丽棒子真是一个奇葩国家!
无聊
平台不用担责吗!!!
辽阳张利君
小尹继续当总统有好戏看。