
文丨赵丹
出品丨牛刀财经(niudaocaijing)
继去年新茶饮品牌争相上市后,2025年开年,中概股则又掀起了赴美上市的热潮。
继极氪、文远知行等明星企业后,农业电商独角兽一亩田集团将于2月17日获中国证监会境外上市备案,拟登陆纳斯达克。

作为全国最大的农产品及食品B2B流通数字服务平台,一亩田成功上市则意味着农业数字化赛道正与国际资本市场深度对接。
不过,行业大环境并不乐观。行业内竞争激烈,国内农产品电商大多盈利能力不强并长期处于亏损状态。
因此,即便一亩田有望成为“中国农产品电商第一股”,但能否不破发还是未知数。
1、曾深陷刷单危机
2011年,曾两度在百度工作的邓锦宏创立了农产品信息平台一亩田。
邓锦宏在百度期间,曾参与过乡村信息化项目,因此他萌生出想将互联网与传统农业相结合的想法。
当时,中国农村电商市场正是一片蓝海,但大多数产地农户却没办法知道其他地方农产品价格和销售渠道,农户最迫切的需求便是及时获得行情信息。
针对农产品原货市场信息不对称问题,一亩田将市面上各类涉农官方网站、论坛的农产品供需信息进行抓取,并做了一个类似“去哪儿”的比价工具。
通过在各种QQ群各种大力推广,一亩田轻松赢占下沉市场,依靠百度联盟的一亩田,靠会员费和广告费每月能有10万元收入。
2011年年底,成立不到一年的一亩田就已实现盈利,成了资本眼中的香饽饽。
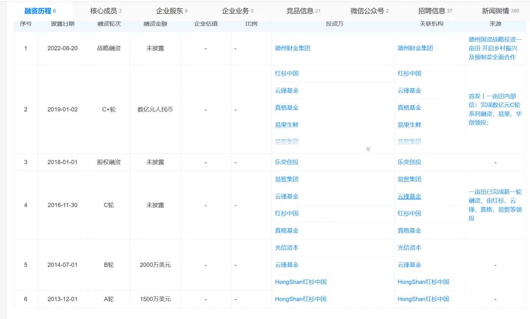
短短四年时间里,一亩田便获得数千万美元融资,其中红杉资本中国参投至少两轮。
据IT桔子统计数据,2013年12月,一亩田获得1500万美元的A轮融资,参投企业便是红杉资本中国;2014年7月,除了红杉资本中国外,光信资本也参与了B轮融资,总金额高达2000万美元;2015年7月,一亩田又获得数千万美元C轮融资。
在资本的助力下,一亩田一路扩张。2015年春节前后,一亩田从只有250多人的团队扩充至3000人左右。
一亩田虽然团队庞大,但其实线下人员占比非常高。一亩田地推团队通过手把手教农产品卖家和买家下载和使用其App,成功介入线下交易,带动GMV的快速增长。
然而,正当一亩田雄心勃勃时,却因被曝出“刷单”问题,一度停滞不前,陷入史无前例的经营危机中。
2015年9月,《新京报》报道称,记者在走访多家批发市场经销商、产地代办经销商后发现,愿意真正使用一亩田发起远程交易的用户其实并不多,通常只是将其作为广告信息发布平台使用,具体交易形式仍然是线下当面付款。
线下推广效果不好,许多员工为了完成考核任务,被迫进行大规模的“左手倒右手”造假行为。
一亩田要求线下推广人员每个月至少要完成300万元交易额,而为了考核任务达标,大多数员工不得不在平台上至少注册2个账号,一个账号用于发布供应信息,另一个则是进行采购。
同时这些员工还会注册20几张银行卡,接着只用10万元资金,每天就能至少刷出上百万交易流水。
刷单事件曝出后,一亩田迅速陷入舆论争议中,并因此引发投资人强烈不满。
表面上,疯狂地推和补贴能帮一亩田实现农产品在线交易撮合,实际上,自身早已不堪重负。
因此,在危机爆发后,邓锦宏果断砍掉了线下交易业务,不再以交易为重点,回到更擅长的信息服务,推出全新聚焦信息撮合的APP,通过撮合农产品的买卖双方,进行目标用户积累。
2、技术升级,抢占“农产品电商第一股”
一亩田在重新规划后,逐步发展成为一家专注于农业及食品领域的数字化服务平台。
其利用大数据分析和人工智能等先进的互联网技术,主要提供农业的B2B信息撮合、在线交易等一系列综合服务。
此外,一亩田积极实施商业化探索,实现多项业务扩展。
2018年,一亩田创新推出了豆牛代卖平台,旨在为全国各地的产地货主提供直通批发市场的便捷代卖服务。
随后,在此业务基础上,一亩田利用自身掌握的数据资源,推出了大数据服务,主要面向地方政府,提供农产品供需关系变化、采购渠道区域变化等数据。
短短几年时间里,一亩田依靠全国一二级批发市场渠道,已经成功构建起一个产地直通批发市场的智慧化代卖服务网络。
2021年年底,预制菜领域爆火时,一亩田积极进军该行业。在一亩田看来,预制菜正迎来发展的窗口期,因此一亩田通过打造百亿级的预制菜产业集群以抓住这一市场机遇。
自2022年起,一亩田在全国范围内启动了名为“沃众田”的项目。该项目凭借对产业流通大数据的精准分析,深度融合了数字技术与实际的生产种植实践。
同时,一亩田在农业智能化领域持续深耕,不仅成功开发了全国首款基于大模型技术的农业AI对话机器人“小田”,还依托人工智能技术,后续助力广东多地相继推出了多个AI对话机器人产品。
据最新数据统计,一亩田平台已累积了超过5600万的B端采供用户群体,每日促成的高效交易配对接近30万次。
该平台一年内可供销售的农产品种类繁多,总数逾1.5万种,包含了瓜果蔬菜、禽畜肉蛋、农资农机等各类农产品。
随着一亩田业务一路狂奔,也让资本重拾对其的信心。
据天眼查显示,一亩田已经累计完成六轮融资,累计融资金额超数亿元,其中参与投资的机构不乏红杉中国、云锋基金、真格基金、光信资本等知名资本。

在资本持续赋能下,一亩田凭借其商业模式的独特价值已获得资本市场高度认可,其IPO进程路径也非常清晰可见。
3、电商竞争激烈,上市只是开端
在过去几年时间里,随着国家对农产品电商扶持力度不断增大,我国已经成为世界第一大农产品电商国。
有关部门数据显示,2023年全国农产品网络零售额达5870.3亿元,比上年增长12.5%,呈现出东中西部竞相发展、各类农产品加速覆盖的良好态势。
据网经社高级分析师莫岱青最新研判,农村电商已构建完整产业矩阵:头部流量入口由阿里、拼多多综合电商把持,叮咚买菜、本来生活、盒马、美团优选等生鲜电商抢占高频消费场景,百诚源、惠农网、来三斤等专业农品平台解决供应链痛点,村村乐等信息服务平台则完成“最后一公里”触达,四大板块共同支撑起万亿级农产品上行通道。
然而,随着农产品电商赛道入局者的增多,行业竞争愈发激烈。
为了争夺市场份额,各大平台往往采取低价竞争策略,这进一步压缩了它们的利润空间。
目前,农产品电商行业整体盈利能力都不强。据统计,国内涉农电商企业的数量虽然已经超过4000家。但仅有1%的农产品电商平台实现盈利。可以说,绝大多数涉农电商企业都处于亏损状态。
相比之下,一亩田虽然早已盈利,但行业竞争压力仍很大,甚至之前还曾担心微信平台有替代其的趋势。
《中国企业家》调研显示,一亩田用户呈现显著的微信生态依赖倾向:日均超3小时的高频社交场景中,群主便能进行客户管理和信息发布,包括点对点聊天、朋友圈发布信息等,用户日常则可以通过微信支付完成交易结算,其集成的即时通讯与内容分发功能已实质性分流一亩田核心业务场景。
为了防止被替代,一亩田的微信公众号不但密切关注鲜活农产品行情并及时更新,只为牢牢占据用户核心位置。
正是凭借这种对用户需求的精准把握和高效服务,一亩田得以在农业电商领域占有重要位置,进而为其冲刺IPO奠定了坚实基础。
一亩田这次赴美上市,不仅是农业数字化企业资本化的里程碑,更是传统产业与科技融合的缩影。
然而,资本市场的严苛审视与行业内外竞争,要求其必须在效率提升与模式创新上持续突破。
若成功,一亩田或将领跑全球农业B2B赛道,为中国乡村振兴注入数字动能;若折戟,则可能暴露农业互联网“叫好不叫座”的深层矛盾。无论如何,这场试验将为行业提供宝贵镜鉴。