昨天,浙江恒晟文旅发展有限公司召开了债权人第一次会议!
据公告,该公司已经在去年12月破产清算。
这家公司开发的项目是瑞安湖岭5A级温泉小镇,也是温州本土房企恒达集团开发的第一个文旅项目。被开发项目拖累,并在多年后以惨淡收局,母公司也深受牵连,让人唏嘘不已。
到底出了什么情况?下面我们一起来看下具体情况。
01
♪
楼市温州 LOUSHIWENZHOU
浙江恒晟文旅发展有限公司的两位股东是恒达集团和周某,其中恒达集团占7成,周某占3成。
2021年3月,两位股东联手,从另一家温州知名房企手中抢下瑞安湖岭温泉小镇一期启动区项目,经过58轮竞价,以约1.98亿元+3200㎡政策用房竞得,溢价率29.4%。

这个项目位于瑞安湖岭镇和陶山镇中间,陶溪村老瑞枫公路东北侧。

项目亮相后推广名为湖岭温泉小镇。当时这个项目还曾出现在2022年文旅项目集中签约的现场,还有中青旅也参与其中,宣称总投资超100亿元。
可以看出,这个项目当初被寄予了厚望,甚至说已经出圈了。

之后,项目备案名为泉岭名邸,开盘于2023年6月,推售共计327套房源,包含洋房、叠墅以及合院产品,全部为70年产权的住宅。
其中洋房建面约56-102方,毛坯售价约1.17万元/㎡,叠墅建面约125-140方,毛坯售价约1.89万元/㎡,合院建面约146-200方,毛坯售价约2.07万元/㎡。
截止今年2月25日,去化约37套,去化率约11%。
当初拿地有多疯狂,现状就有多寂寥。
拿地在市场高峰期,项目开发、销售期却直面了前所未有的下行期,投资属性偏高的文旅项目成了首当其冲的对象。

目前从2024年7月的卫星图来看,住宅部分基本结顶,小区入口处示范区绿化已经完工,小区内其余的绿化尚未完工。

配套的酒店也是主体完工,装修、外立面,甚至地块内道路都尚未完工。据早期项目介绍,这里计划引入君澜酒店进行温泉星级酒店运营管理。

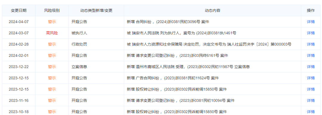
项目开发期间,坊间曾传出恒达集团和股东合作并不愉快,矛盾很多,从相关风险动态来看,股东确实因为股权产生了纠纷,而且事情发生的很早,在2022年7-8月就对薄公堂了。

但判决之后,公司进展较为顺利,直到2023年10月之前都没出问题。

但2023年10月后,公司面临多项纠纷。开发商自己也发生变故,随后股东、供应商等合作方的信心也急转而下。


最终项目公司在去年12月被破产清算,并于昨天在瑞安法院召开了第一次债权人会议。

02
♪
楼市温州 LOUSHIWENZHOU
曾经在温州市区也是领头羊开发商的恒达集团,时隔多年重回温州,转战文旅产业的第一个项目却落得如此结局,让很多人意料未及。恒达集团成立于1997年,在温州开发了不少标杆项目,也曾在市场上拥有相当份额的占比,如康源大楼、豪都花园、绿洲花园、康宏家园、假日花园、御景苑、涵景苑、铂金府邸、铂金湾等。还在沈阳开发了12万平方米的沈阳服装批发市场,在苏州开发了苏州清水园项目。
