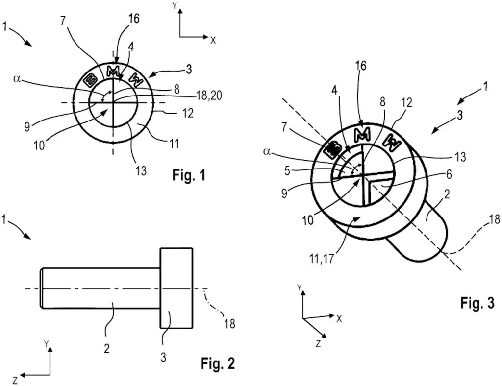
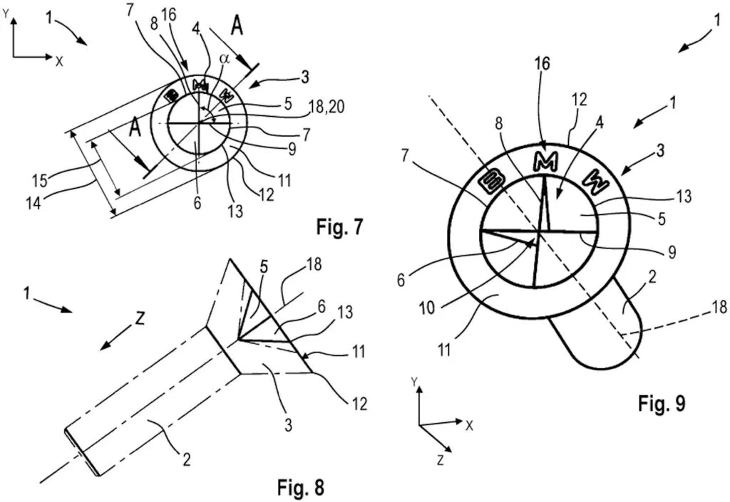
车若初见 铁子们,就问你这玩意细不细,宝马要申请新螺丝头专利,螺丝顶部设计成宝马车标,四个象限中的两个变成槽,修车时把专用工具放到槽里才能拧动。内外六角,或者梅花头,一直是螺丝头的首选解决方案,整上这个确实好看,甭管放摩托车上还是汽车上,打开发动机舱全是宝马标,但是自己维修成噩梦,拧紧、松开螺丝的工具也得申请专利,而且预计不便宜。个人觉得并没有什么物理上的好处,只能理解为宝马专有,全为颜值服务了,突然想起隐藏式门把手,为好看为风阻还是为安全,最后还是钉死在底层逻辑上,就说这螺丝头,您喜欢方便点的还是好看点的。


