近日,人福医药集团旗下武汉人福创新药物研发中心申报的1类新药HWS116注射液获批临床,拟用于治疗晚期实体瘤。据透露,其在HWS116项目中的研发投入现约为3800万元。此次临床试验申请获批,将有力推动其在肿瘤领域创新产品管线的进一步拓展。
HWS116是一款靶向FGFR2b的人源化单克隆抗体,通过阻断成纤维细胞生长因子受体介导的信号通路抑制肿瘤生长,并通过其Fc介导的抗体依赖性细胞介导的细胞毒性作用(ADCC)和吞噬作用(ADCP)杀伤肿瘤细胞。
FGFR2b的过表达与胃癌、乳腺癌、肝内胆管癌等高侵袭性肿瘤密切相关,约30%的HER2阴性晚期胃癌患者中存在FGFR2b过表达。开发靶向FGFR2b的疗法,有助于实现FGFR2b过表达癌症患者的精准治疗。
人福医药集团医药研究院已完成HWS116注射液的药学、药理毒理研究、临床设计及注册申报等工作,并于2025年2月向国家药品监督管理局药品审评中心提交临床试验申请并获得受理。
HWS116注射液审评时间轴

截图来源:摩熵医药中国药品审评数据库
临床前数据显示,HWS116能显著抑制FGFR2b高表达的多种小鼠皮下移植瘤生长,抑瘤效果优于同靶点药物Bemarituzumab,毒理学研究表明本品安全性良好。
据摩熵医药数据库显示,近年来中国医院全终端市场抗肿瘤药(化药+生物药)销售额均达千亿规模,2023年超过1200亿元,同比增长5.60%;2024年Q1~Q2以7.67%的增速增长至近650亿元。

截图来源:摩熵医药全国医院销售(全终端)数据库
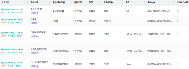
在抗肿瘤药领域,人福医药拥有5个生产批文(在使用),涉及塞来昔布胶囊、卡莫氟、乙磺酸尼达尼布软胶囊、注射用盐酸尼莫司汀等4个品种。据不完全统计,目前人福医药有4款抗肿瘤1类新药在国内处于I期临床及以上阶段,涵盖乳腺肿瘤、肺癌、前列腺癌等适应症。
人福医药抗肿瘤药领域生产批文信息

截图来源:摩熵医药中国药品批文数据库
近年来,人福医药坚持研发创新和国际化拓展,加快核心领域的创新药项目研发。摩熵医药数据库显示,今年以来,人福医药已有1类新药CXJM-66注射液、2类改良型新药RFUS-301注射剂获批临床,均为神经系统药物。
CXJM-66注射液为宜昌人福自主研发的新分子实体,临床拟用于手术麻醉术后镇痛。RFUS-301注射剂是一款改良型术后镇痛药物,国内目前尚无同类型产品上市。
自1997年上市以来,人福医药在国内麻醉、镇痛的神经系统用药领域一直盘踞在行业龙头的位置,且不断地深挖护城河。其芬太尼系列、氢吗啡酮等神经系统药物核心产品,市占率可谓一骑绝尘。2023年注射盐酸瑞芬太尼全国医院终端市场销售额超42亿元,人福医药核心子公司宜昌人福医药市场占比超过八成。

图片来源:摩熵医药全国医院销售(全终端)数据库
截至目前,人福医药及其子公司拥有649个药品生产批文(在使用),其中59个独家品规产品,158个品规产品被纳入国家基药目录,254个品种被纳入国家医保目录,同时还拥有230多个FDA批准的ANDA(简化新药申请)文号。
<END>