[#宇树科技关联公司已多次增资##宇树科技关联公司已多次更名#]#宇树科技上市绿色通道被叫停#据媒体报道,宇树科技A股上市的绿色通道被叫停,但上市并未叫停。所谓上市“绿色通道”是一种旨在优化审核流程、缩短上市时间的机制,通过优先处理、简化程序等方式提升效率。根据中国证监会官网显示,宇树科技11月份已经完成了IPO上市辅导工作。公告显示,宇树科技拟申请在境内IPO,中信证券为辅导机构。
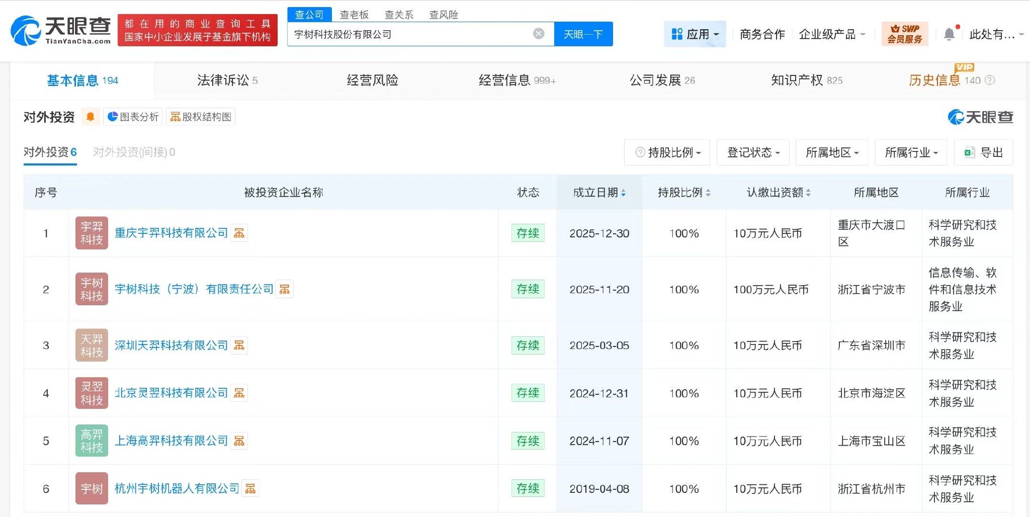
天眼查工商信息显示,宇树科技关联公司宇树科技股份有限公司成立于2016年8月,法定代表人为王兴兴,注册资本约3.64亿人民币,经营范围含软件销售、智能机器人的研发、智能机器人销售、工业机器人制造、工业机器人销售、机械设备研发等。股东信息显示,该公司由王兴兴、汉海信息技术(上海)有限公司、宁波红杉科盛股权投资合伙企业(有限合伙)、上海宇翼企业管理咨询合伙企业(有限合伙)等共同持股。对外投资信息显示,该公司在内地直接持股6家企业,均为存续状态。值得一提的是,2025年以来,宇树科技已成立多家新公司,包括重庆宇羿科技有限公司、宇树科技(宁波)有限责任公司、深圳天羿科技有限公司。此外,该公司已多次增资并多次更名。





chick66
所谓新浪财经,就这水平?
风雨同舟
搞机器人是假上市才是目标