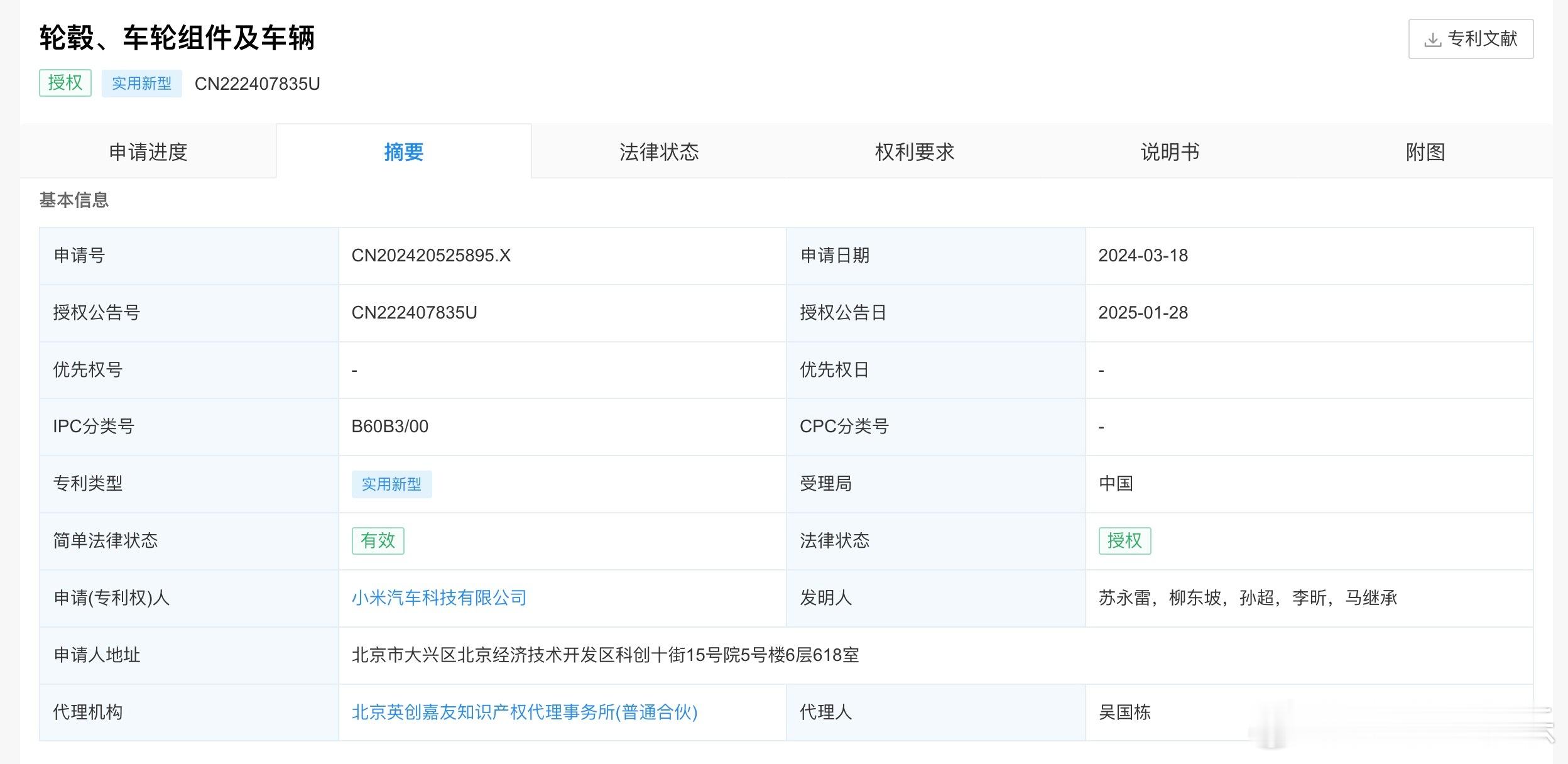
学习了一下,轮毂的设计确实是有专利保护的。比如小米这款五幅轮毂,2024年3月18日申请,可以用十年,到2034年3月18日。专利中会要求申请人描述基本造型,连接方式,倒角,沟槽等细节。那个梅花轮毂,钻石轮毂也都是小米之前的设计。前几天逛商场在店里看到直接挂着,还挺直观的。路上也基本见过,挺有辨识度,一看就是小米的。新能源汽车小米su7








学习了一下,轮毂的设计确实是有专利保护的。比如小米这款五幅轮毂,2024年3月18日申请,可以用十年,到2034年3月18日。专利中会要求申请人描述基本造型,连接方式,倒角,沟槽等细节。那个梅花轮毂,钻石轮毂也都是小米之前的设计。前几天逛商场在店里看到直接挂着,还挺直观的。路上也基本见过,挺有辨识度,一看就是小米的。新能源汽车小米su7








作者最新文章
热门分类
汽车TOP
汽车最新文章